山東風途物聯網科技有限公司
聯系人:杜經理
聯系電話:16652863761
QQ:2749609891
公司地址:山東省濰坊市高新區光電路155號光電產業加速器(一期)

PRODUCT
聯系人:杜經理
聯系電話:16652863761
QQ:2749609891
公司地址:山東省濰坊市高新區光電路155號光電產業加速器(一期)
產品型號:FS485
產品價格:600元
產品品牌:風途
一、機械式風速風向傳感器技術指標
機械式風速風向傳感器又稱一體式風速方向傳感器,機械式風速風向傳感器是一種集成了風速和風向測量功能的傳感器設備,采用高分子工程塑料,強度高,啟動性好。
供電:DC12V
工作環境:-40~70℃,濕度≤100%無凝露
通信接口:RS485
工作電流:55mA DC12V
啟動風速:0.5m/s
最短數據間隔:0.5S
殼體材料:高分子工程塑料
二、機械式風速風向傳感器參數
| 參數 | 測量范圍 | 分辨率 | 精度 |
| 風速 | 0-60m/s | 0.01m/s | ±0.2m/s |
| 風向 | 0-360度 | 0.1度 | ±1度 |
| 平均風速 | 0-60m/s | 0.01m/s | ±0.2m/s |
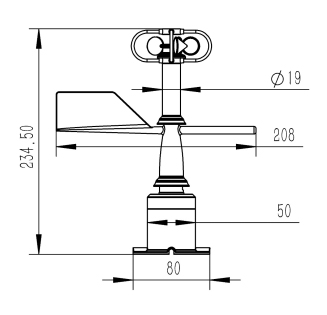
三、機械式風速風向傳感器外觀尺寸

四、機械式風速風向傳感器安裝要求

安裝時底座箭頭N的方向需指向正北方向(如上圖所示)
更新時間:2026-01-20
本文地址:http://www.szyhnk.cn/fsjl/1524.html超聲波傳感器測量風速
2022-03-18 15:38:43小型氣象站廠家推薦
2024-04-23 16:51:39空氣質量微型監測站是什么傳感器?
2022-10-24 09:47:17集成式氣象傳感器具備多種優點
2023-10-30 16:56:36風途科技氣象站
2022-02-14 15:08:19集成化微氣象傳感器:多維環境監測
2025-10-31 16:23:32智慧路燈氣象傳感器
2022-03-29 16:02:56雷達?壓電?紅外光?翻斗?稱重?降雨量測量儀器如何選擇?建議選...
2025-11-04 16:36:46氣象環境監測儀簡介
2023-06-27 17:12:47數一數,自動氣象站上有多少傳感器?
2022-08-09 16:50:59